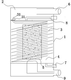
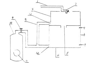
地热资源开发利用与钻井技术及非常规水源利用技术的研发进展
环保视野下的非常规水源利用技术研发
利用3D打印技术制备太赫兹器件与非常规水源利用技术的研发
企业信息 Information

公司名称:山东复古环保科技有限公司

法人代表:刘继宁

注册地址:山东省济宁市兖州区新兖镇创新大厦5-07室

经营范围 Scope

所属行业:科技推广和应用服务业

更多行业:其他科技推广服务业,科技推广和应用服务业,科学研究和技术服务业

经营范围:许可项目:互联网信息服务;第二类增值电信业务;建设工程施工。(依法须经批准的项目,经相关部门批准后方可开展经营活动,具体经营项目以相关部门批准文件或许可证件为准)一般项目:环境保护专用设备制造;水资源专用机械设备制造;环境保护专用设备销售;非常规水源利用技术研发;机械设备研发;厨具卫具及日用杂品研发;互联网销售(除销售需要许可的商品);机械零件、零部件销售;建筑工程用机械销售;机械设备销售;气体、液体分离及纯净设备销售;防腐材料销售;信息技术咨询服务;普通机械设备安装服务;技术进出口;货物进出口。(除依法须经批准的项目外,凭营业执照依法自主开展经营活动)

产品大全 Product
联系我们 Contact

电话:1890587**

地址:山东省济宁市兖州区新兖镇创新大厦5-07室

邮箱:28062d**[email protected]

网址:www.xunhuanshuichugou.com

企业简介 Introduction
山东复古环保科技有限公司成立于2017年04月14日,注册地位于山东省济宁市兖州区新兖镇创新大厦5-07室,法定代表人为刘继宁。经营范围包括许可项目:互联网信息服务;第二类增值电信业务;建设工程施工。(依法须经批准的项目,经相关部门批准后方可开展经营活动,具体经营项目以相关部门批准文件或许可证件为准)一般项目:环境保护专用设备制造;水资源专用机械设备制造;环境保护专用设备销售;非常规水源利用技术研发;机械设备研发;厨具卫具及日用杂品研发;互联网销售(除销售需要许可的商品);机械零件、零部件销售;建筑工程用机械销售;机械设备销售;气体、液体分离及纯净设备销售;防腐材料销售;信息技术咨询服务;普通机械设备安装服务;技术进出口;货物进出口。(除依法须经批准的项目外,凭营业执照依法自主开展经营活动)